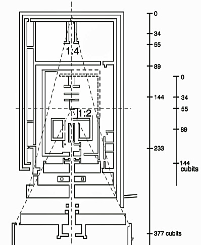
تصميم قناة أنبوبية ميتافيزيقية
عادةً ما يبدأ تصميم المعبد من المحراب الذي يُمثّل نقطة محورية فيه. إن التخطيط المصري التقليدي لبناء المعبد يزيد في العرض والارتفاع من عند المحراب ونحو اتجاه الواجهة. استند هذا التقسيم العام إلى "نظام تلسكوبي".

ينطبق نفس التكوين التلسكوبي على المخطط الرأسي حيث ينخفض مستوى أرضية المعبد وترتفع الأسقف نحو الخارج باتجاه أعمدة المعبد.
تُظهر هذه الصورة الجوية الرائعة لمعبد مدينة هابو في الأقصر التدرّج في الارتفاع بين الجزء الخلفي والأمامي من المعبد. كما توضح لنا الصورة كيفية تقسيم المعبد إلى أقسام مختلفة لكل منها مدخله الخاص. عند النظر إلى المعبد من مدخله يُمكننا ملاحظة المحاذاة المثالية لجميع الفتحات في أرجاء المعبد وكيفية تأثير التصميم التلسكوبي.

هنا ننظر من المحراب باتجاه مدخل المعبد فيُظهر لنا التصميم التلسكوبي في الاتجاه المعاكس.

هذا مثال آخر على التصميم التلسكوبي من معبد "دير مدينة" بالأقصر.

وفي معبد أبيدوس نجد التصميم التلسكوبي نفسه.

وفي معبد كوم أمبو.

وفي معبد فيلة بأسوان.

يسمح التصميم التلسكوبي بتدفق الطاقة من البشر نحو مركز الطاقة الإلهية في المحراب. إذا قَبلت الطاقة الإلهية قربانًا من شخص ما فإنها ستشع طاقتها الإلهية من مركزها إلى البوابة عند مدخل المعبد.


يُظهر لنا الرسم في المعبد المصري كيف يتقرب الإنسان إلى الإله بتقديم القرابين - ثمرة عمله. وتُعد مواكب القرابين التي تدخل إلى مركز المعبد أو المقبرة أو المتجهة نحوه سمةً متكررة.
وفي نهاية الساحة الكبرى كان الفرعون أو من ينوب عنه يقدمون القرابين الطقسية للقوى الإلهية بشكل منهجي أثناء توجههم نحو المحراب. تستجيب الطاقات الإلهية للفعل الصحيح للإنسان من خلال بث طاقاتها لصالح جميع المستحقين.

بحث وكتابة: مصطفى جاد الله